رفتن به مطلب

اصول ساخت بازوی مکانیکی ربات


Mehdi.Aref

ارسال های توصیه شده

ارسال شده در

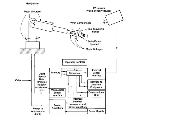
بازوي مكانيكي شامل چندين واصل است كه با مفصلها به هم وصل مي شوند. اين واصلها در جهات مختلف در فضاي كاري قادر به حركت مي باشند. حركت يك مفصل بخصوص باعث حركت يك يا چند واصل مي شود. عامل تحريك مفصل مي تواند مستقيماً يا از طريق بعضي انتقالات مكانيكي بر واصل بعدي متصل شود. به واصل نهايي بازوي مكانيكي وسيله كاري ربات وصل شده است كه به آن عامل نهايي مي گويند. هر يك از مفصلهاي ربات يك محور مفصل دارند كه واصل حول آن مي چرخد. هر محور مفصل يك درجه آزادي(D.O.F.) تعريف مي كند. بيشتر رباتها داراي 6 درجه آزادي مي باشند به عبارت ديگر داراي 6 مفصل، بمنظور حركت در 6 جهت. اولين سه مفصل ربات به عنوان محورهاي اصلي شناخته مي شوند.

lrupyihxeasfe2sa8fct.jpg

بطوركلي صرفنظر از جزئيات، محورهايي كه براي محاسبه موقعيت و استقرار مچ استفاده مي شونــد، محورهاي اصلي ربات هستند. محورهاي مفصلهاي باقيمانده جهت قرار گرفتن دست ربات را مشخص مي كنند، ولذا محورهاي فرعي ناميده مي شوند.

دو نوع مفصل اصلي به صورت گسترده در صنعت رباتها بكار گرفته مي شود. مفصل دوراني كه نمايش دهنده حركت چرخشي حول يك محور است و مفصل انتقالي يا لغزشي كه نمايش دهنده حركت خطي در طول يك محور است، (جدول 1).

 

Description Notation Type

Rotary motion about an axis R Revolute

Linear motion along an axis P Prismatic

 

جدول 1 : انواع مفصل ربات

سنسورها

براي كنترل صحيح بازوي مكانيكي بايستي وضعيت هر مفصل شناخته شده باشد. منظور از وضعيت، موقعيت مفصل، سرعت و شتاب مي باشد. بنابراين در مفصلها بايستي سنسورهايي جهت ديد مفصلها و وصلها جهت تعيين موقعيت، گشتاور، سرعت، شتاب، و ... نصب شود، تا وضعيت مفصلها به كنترلر ابلاغ شود. خواندن اطلاعات سنسور، يا در اتمام حركت يا در حين حركت انجام مي گيرد و با ارسال اطلاعات آني سنسورها به كنترلر، كنترل صحيح و واقعي سيستم مكانيكي انجام مي شود. اين اطلاعات سنسوري، ديجيتال يا آنالوگ و يا تركيبي مي باشند.

1.JPG

 

كنترلر

بخشي است كه به بازوي مكانيكي، هوش انجام كار را مي دهد. كنترلر معمولاً از بخشهاي ذيل تشكيل مي شود :

1- واحدي كه اجازه مي دهد ربات از طريق سنسورها با محيط بيرون ارتباط داشته باشد.

2- حافظه جهت ذخيره داده هايي كه مختصات را تعريف مي كنند تا بازو با توجه به اين مختصات حركت كند (برنامه).

3- واحدي كه داده ذخيره شده در حافظه را تغيير مي دهد و سپس داده را براي ارتباط دادن با مؤلفه هاي ديگر كنترل بكار مي برد.

4- حركت مؤلفه هــاي بخصوصي در نقاط معينــي مقدار دهي اوليه شده و در نقطه بخصوص

ديگري پايان مي يابند.

5- واحــد محاسباتي كه محاسبــات لازم براي كنترلـر را انجام مي دهد. به عبارت ديگر، براي

انجام صحيح اعمال بايست يك سري محاسبات جهت مشخص كردن مسير، سرعت و موقعيت بازوي مكانيكي انجام شود.

6- واسطي جهت بدست آوردن داده ها (مختصات هر مفصل، اطلاعاتي از سيستم بينايي و ...) و واسطي جهت اعمال سيگنالهاي كنترل به محرك مفصلها.

7- واسطي جهت انتقال اطلاعات كنترلر به واحد تبديل توان، به طوري كه محرك هاي مفصلها باعث بشوند كه مفصلها به صورت مطلوب حركت كنند.

8- واسط به تجهيزات ديگر، بطوري كه كنترلر ربات با واحدهاي خارجي يا ابزارهاي كنترل ديگر، ارتباط داشته باشد.

9- وسايل و تجهيزات لازم جهت آموزش ربات.

  • Like 3
ارسال شده در

18.jpg

كنترلرهاي رباتها كلاً به 5 دسته تقسيم بندي مي شوند :

 

1- كنترل با قدم ساده(Simple Step Sequencer)

2- سيستم منطقي پنوماتيكي(Pneumatic Logic System)

3- كنترلر با قدمهاي الكترونيكي (Electronic Sequencer)

4- ميكرو كامپيوتر (Micro Computer)

5- ميني كامپيوتر (Mini Computer)

سه كنترلر اول در رباتهاي كم هزينه به كار برده مي شوند. بيشتر كنترلرهاي امروزي براساس ميكروكامپيوترهاي معمولي مي باشند و سيستم كنترل براساس ميني كامپيوتر زياد رايج نمي باشد، چرا كه نسبت به ميكروكامپيوترها هزينه بالاتري دارند.

 

واحد تبديل توان

اين واحد سيگنالهاي كنترلر را گرفته و به يك سيگنال در سطح توان محرك ها و موتورها، جهت حركت، تبديــل مي كند. اين واحــد شامل تقويت كننده هـاي توان الكترونيكي براي رباتهاي الكتريكي و شيرهاي كنترلي و راه اندازهاي هيدروليكي براي رباتهاي هيدروليكي مي باشد.

ArticulateRobotic.gif

محرك مفاصل

اين وسائـل تحت يك ســري شرايط كنتـــرل شده و دقيــق توان لازم را جهت مفصلها فراهم مي آورند. اين توان مي تواند الكتريكي، هيدروليكي يا پنوماتيكي باشد. پس به طور خلاصه يك ربات داراي مؤلفه هاي؛ اسكلت ساختاري، سيستم تحريك كننده مفصلها، سيستم سنسوري، كنترلر، سيستم تغيير سيگنال (تغيير سيگنال آنالوگ به ديجيتال و بالعكس، تقويت سيگنال، ***** كردن سيگنال و ...) مي باشد.

 

در شكل 2 سلسله مراتب ساختاري يك ربات متحرك را مشاهده مي كنيد. هر ماجول در شكل قابل تجزيه به زير سيستم هايي مي باشد. هم اينك رباتها با مفصلهاي متحرك به خاطر سادگي ساخت و سرعت عمل و نزديكي آن به قابليت انعطاف بازوي انسان، در صنعت به طور وسيع استفاده مي شوند.

 

2214v7bs68t6alhxhmg.jpg

شكل2 : سلسله مراتب زير سيستم هاي يك ربات متحرك نمونه

  • Like 3
  • 3 سال بعد...
ارسال شده در

با سلام

پروژه من ساخت یک بازوی رباته....چطوری میتونم نقشه اولیشو ک بخوام تو solidworkکارش کنم بکشم؟

×
×
  • اضافه کردن...